OEM ЗАПЧАСТИ

  info@automotohub.ru   8 (916) 294-84-77
  О Компании   Оплата и Доставка   Помощь   Обратная связь

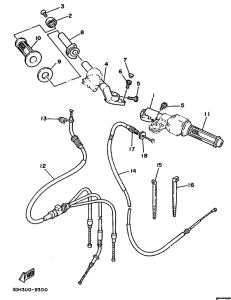
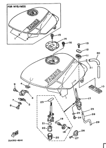
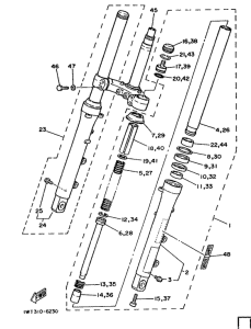
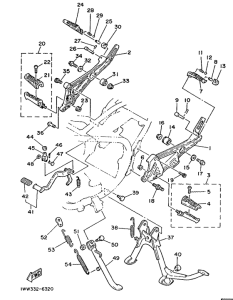
Запчасти для мотоциклов Yamaha RD350LCF (20KW)

Год: 1988  •  Код модели: 3DK1  •  Объем двигателя: 350
Запчасти для мотоциклов Yamaha RD350LCF (20KW)
{modalWnd}