OEM ЗАПЧАСТИ

  info@automotohub.ru   8 (916) 294-84-77
  О Компании   Оплата и Доставка   Помощь   Обратная связь

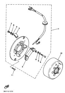
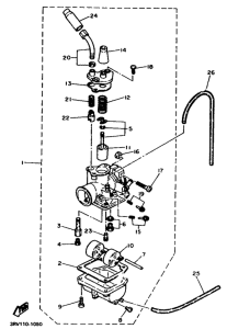
Запчасти для мотоциклов Yamaha PW80 Zinger

Год: 1991  •  Код модели: 4BC1  •  Объем двигателя: 80
Запчасти для мотоциклов Yamaha PW80 Zinger
{modalWnd}