OEM ЗАПЧАСТИ

  info@automotohub.ru   8 (916) 294-84-77
  О Компании   Оплата и Доставка   Помощь   Обратная связь

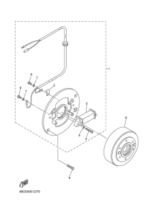
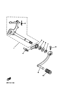
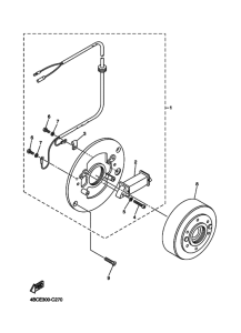
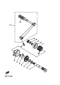
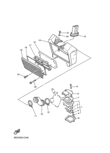
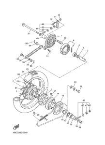
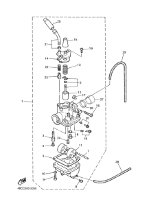
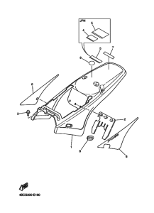
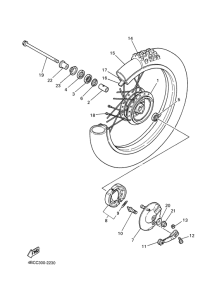
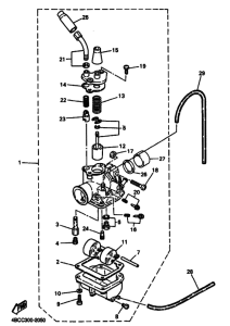
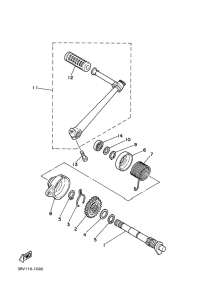
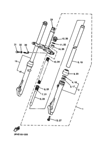
Запчасти для мотоциклов Yamaha PW80 PW80

Год: 2007  •  Код модели: 4BCH  •  Объем двигателя: 80
Запчасти для мотоциклов Yamaha PW80 PW80
{modalWnd}