OEM ЗАПЧАСТИ

  info@automotohub.ru   8 (916) 294-84-77
  О Компании   Оплата и Доставка   Помощь   Обратная связь

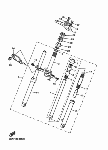
Запчасти для мотоциклов Yamaha PW50 PW50

Год: 2016  •  Код модели: 2SA7  •  Объем двигателя: 50
Запчасти для мотоциклов Yamaha PW50 PW50
{modalWnd}