OEM ЗАПЧАСТИ

  info@automotohub.ru   8 (916) 294-84-77
  О Компании   Оплата и Доставка   Помощь   Обратная связь

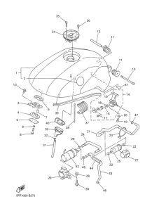
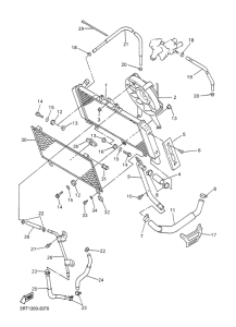
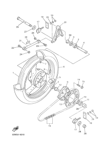
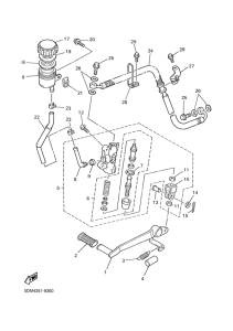
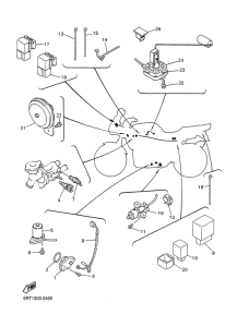
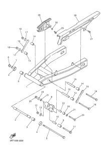
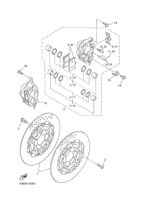
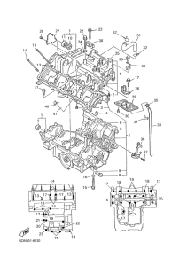
Запчасти для мотоциклов Yamaha FZS600 FAZER

Год: 2003  •  Код модели: 5RT4  •  Объем двигателя: 600
Запчасти для мотоциклов Yamaha FZS600 FAZER
{modalWnd}