OEM ЗАПЧАСТИ

  info@automotohub.ru   8 (916) 294-84-77
  О Компании   Оплата и Доставка   Помощь   Обратная связь

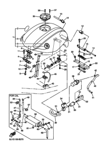
Запчасти для мотоциклов Yamaha FZS1000 FZS10S FZ1

Год: 2004  •  Код модели: 5LVY  •  Объем двигателя: 1000
Запчасти для мотоциклов Yamaha FZS1000 FZS10S FZ1
{modalWnd}