OEM ЗАПЧАСТИ

  info@automotohub.ru   8 (916) 294-84-77
  О Компании   Оплата и Доставка   Помощь   Обратная связь

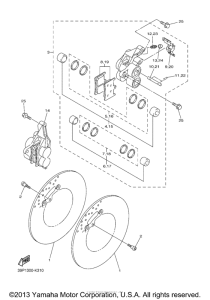
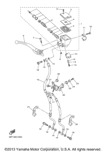
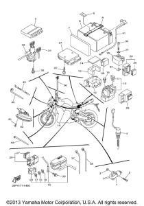
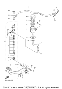
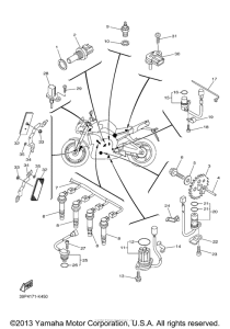
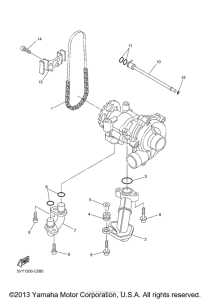
Запчасти для мотоциклов Yamaha FZ8NAB FZ8 (Naked)

Год: 2011  •  Объем двигателя: 800
Запчасти для мотоциклов Yamaha FZ8NAB FZ8 (Naked)
{modalWnd}