OEM ЗАПЧАСТИ

  info@automotohub.ru   8 (916) 294-84-77
  О Компании   Оплата и Доставка   Помощь   Обратная связь

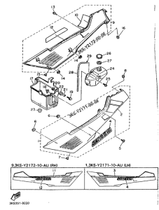
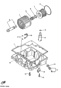
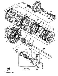
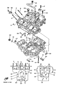
Запчасти для мотоциклов Yamaha FZ750 Genesis

Год: 1989  •  Код модели: 3KT1  •  Объем двигателя: 750
Запчасти для мотоциклов Yamaha  FZ750 Genesis
{modalWnd}