OEM ЗАПЧАСТИ

  info@automotohub.ru   8 (916) 294-84-77
  О Компании   Оплата и Доставка   Помощь   Обратная связь

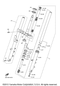
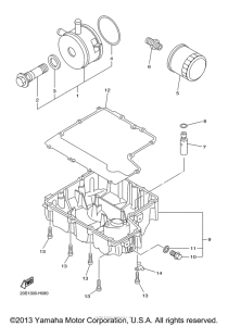
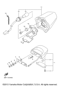
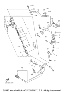
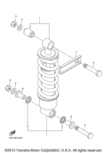
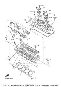
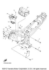
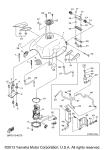
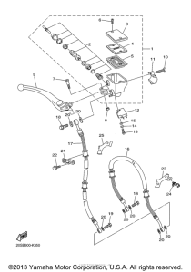
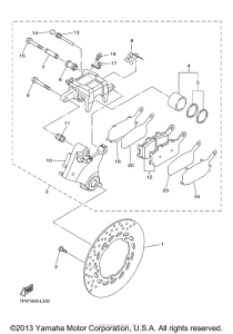
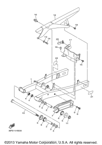
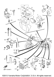
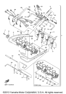
Запчасти для мотоциклов Yamaha FZ6RECB FZ6R

Год: 2014  •  Объем двигателя: 600
Запчасти для мотоциклов Yamaha FZ6RECB FZ6R
{modalWnd}