OEM ЗАПЧАСТИ

  info@automotohub.ru   8 (916) 294-84-77
  О Компании   Оплата и Доставка   Помощь   Обратная связь

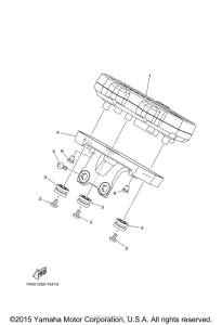
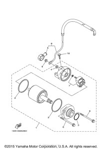
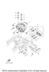
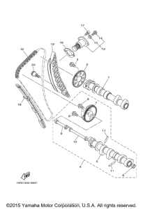
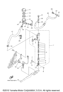
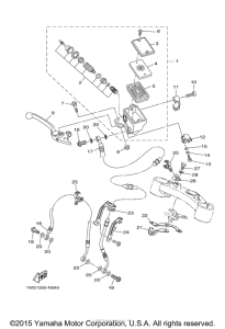
Запчасти для мотоциклов Yamaha FZ07FCGY FZ-07

Год: 2015  •  Объем двигателя: 700
Запчасти для мотоциклов Yamaha FZ07FCGY FZ-07
{modalWnd}