OEM ЗАПЧАСТИ

  info@automotohub.ru   8 (916) 294-84-77
  О Компании   Оплата и Доставка   Помощь   Обратная связь

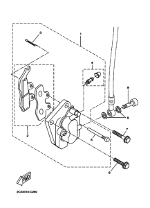
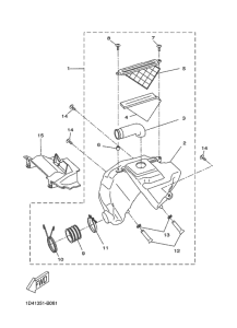
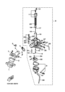
Запчасти для мотоциклов Yamaha DT50R DT50

Год: 2011  •  Код модели: 13CB  •  Объем двигателя: 50
Запчасти для мотоциклов Yamaha DT50R DT50
Выбирайте узел вашей техники:


{modalWnd}