OEM ЗАПЧАСТИ

  info@automotohub.ru   8 (916) 294-84-77
  О Компании   Оплата и Доставка   Помощь   Обратная связь

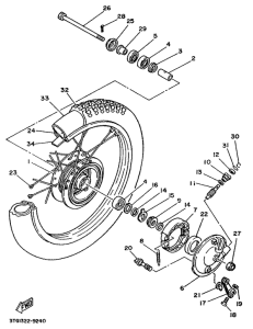
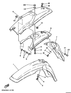
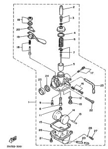
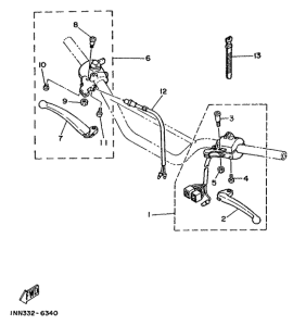
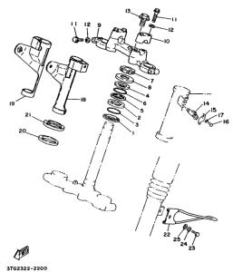
Запчасти для мотоциклов Yamaha DT50MX DT50

Год: 1992  •  Код модели: 3TG2  •  Объем двигателя: 50
Запчасти для мотоциклов Yamaha DT50MX DT50
Выбирайте узел вашей техники:


{modalWnd}