OEM ЗАПЧАСТИ

  info@automotohub.ru   8 (916) 294-84-77
  О Компании   Оплата и Доставка   Помощь   Обратная связь

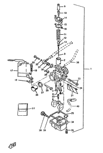
Запчасти для мотоциклов Yamaha DT50R DT50

Год: 1996  •  Код модели: 4CT6  •  Объем двигателя: 50
Запчасти для мотоциклов Yamaha DT50R DT50
Выбирайте узел вашей техники:


{modalWnd}