OEM ЗАПЧАСТИ

  info@automotohub.ru   8 (916) 294-84-77
  О Компании   Оплата и Доставка   Помощь   Обратная связь

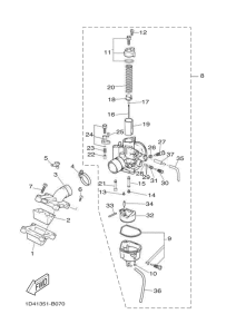
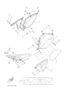
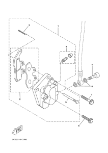
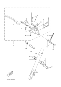
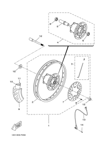
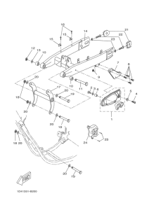
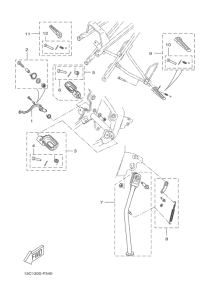
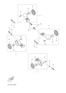
Запчасти для мотоциклов Yamaha DT50RSM DT50

Год: 2008  •  Код модели: 14P4  •  Объем двигателя: 50
Запчасти для мотоциклов Yamaha DT50RSM DT50
Выбирайте узел вашей техники:


{modalWnd}