OEM ЗАПЧАСТИ

  info@automotohub.ru   8 (916) 294-84-77
  О Компании   Оплата и Доставка   Помощь   Обратная связь

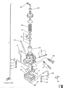
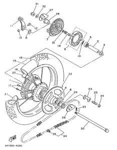
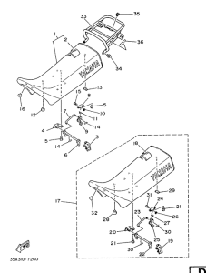
Запчасти для мотоциклов Yamaha DT125LC DT125L

Год: 1987  •  Код модели: 1HR  •  Объем двигателя: 125
Запчасти для мотоциклов Yamaha DT125LC DT125L
{modalWnd}