OEM ЗАПЧАСТИ

  info@automotohub.ru   8 (916) 294-84-77
  О Компании   Оплата и Доставка   Помощь   Обратная связь

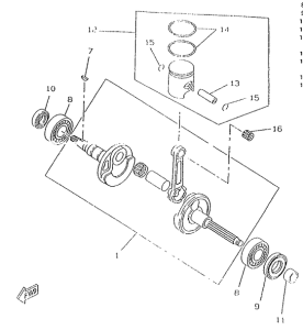
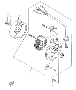
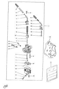
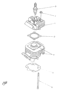
Запчасти для мотоциклов Yamaha CW50RSP BOOSTER

Год: 1996  •  Код модели: 4UR3  •  Объем двигателя: 50
Запчасти для мотоциклов Yamaha CW50RSP BOOSTER
{modalWnd}