OEM ЗАПЧАСТИ

  info@automotohub.ru   8 (916) 294-84-77
  О Компании   Оплата и Доставка   Помощь   Обратная связь

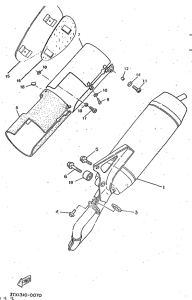
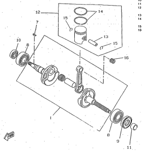
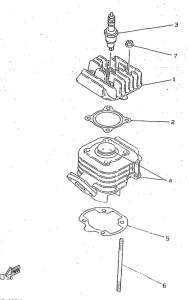
Запчасти для мотоциклов Yamaha CW50RS BW'S Next Generation

Год: 1997  •  Код модели: 4VA5  •  Объем двигателя: 50
Запчасти для мотоциклов Yamaha CW50RS BW'S Next Generation
Выбирайте узел вашей техники:


{modalWnd}