OEM ЗАПЧАСТИ

  info@automotohub.ru   8 (916) 294-84-77
  О Компании   Оплата и Доставка   Помощь   Обратная связь

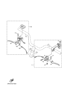
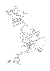
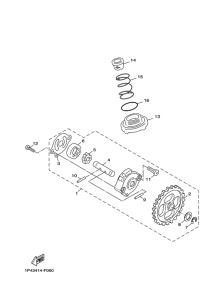
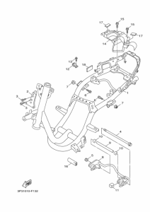
Запчасти для мотоциклов Yamaha CE50 Jog

Год: 2007  •  Код модели: 3P31  •  Объем двигателя: 50
Запчасти для мотоциклов Yamaha CE50 Jog
{modalWnd}