OEM ЗАПЧАСТИ

  info@automotohub.ru   8 (916) 294-84-77
  О Компании   Оплата и Доставка   Помощь   Обратная связь

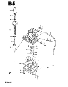
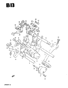
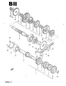
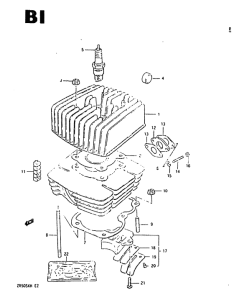
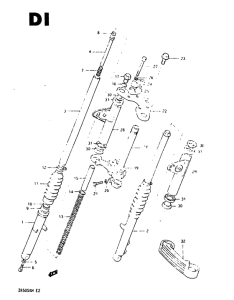
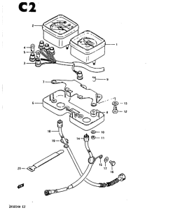
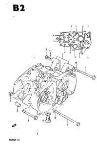
Запчасти для мотоциклов Suzuki ZR50 ZR50S

Год: 1984  •  Код модели: ZR50SKE(E/H) E  •  Объем двигателя: 50
Запчасти для мотоциклов Suzuki ZR50 ZR50S
{modalWnd}