OEM ЗАПЧАСТИ

  info@automotohub.ru   8 (916) 294-84-77
  О Компании   Оплата и Доставка   Помощь   Обратная связь

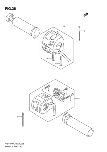
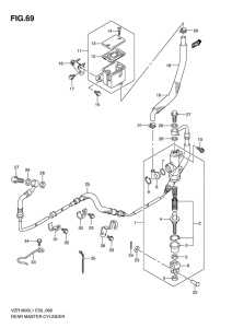
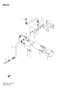
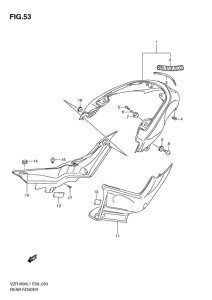
Запчасти для мотоциклов Suzuki VZR1800 Intruder M1800R/ Boulevard M109R

Год: 2011  •  Код модели: VZR1800L1(E50) L1  •  Объем двигателя: 1800
Запчасти для мотоциклов Suzuki VZR1800 Intruder M1800R/ Boulevard M109R
Выбирайте узел вашей техники:


{modalWnd}