OEM ЗАПЧАСТИ

  info@automotohub.ru   8 (916) 294-84-77
  О Компании   Оплата и Доставка   Помощь   Обратная связь

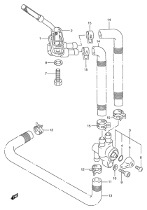
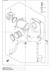
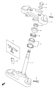
Запчасти для мотоциклов Suzuki VZ800 Marauder

Год: 2003  •  Код модели: VZ800K3(E2) K3  •  Объем двигателя: 800
Запчасти для мотоциклов Suzuki VZ800 Marauder
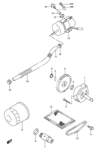
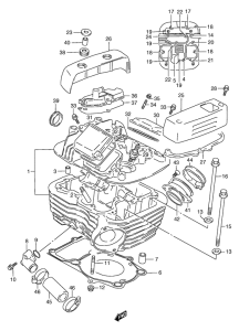
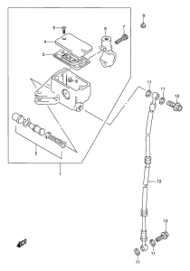
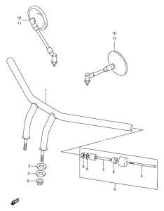
Выбирайте узел вашей техники:


{modalWnd}