OEM ЗАПЧАСТИ

  info@automotohub.ru   8 (916) 294-84-77
  О Компании   Оплата и Доставка   Помощь   Обратная связь

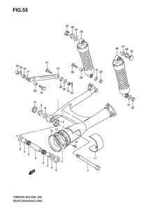
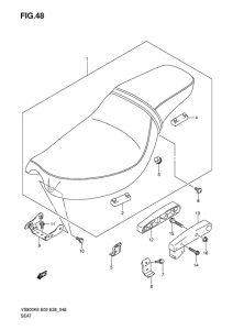
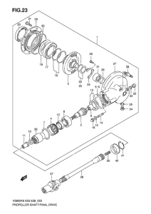
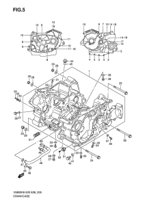
Запчасти для мотоциклов Suzuki VS800 Boulevard S50

Год: 2008  •  Код модели: VS800K8(E3/E28) K8  •  Объем двигателя: 800
Запчасти для мотоциклов Suzuki VS800 Boulevard S50
Выбирайте узел вашей техники:


{modalWnd}