OEM ЗАПЧАСТИ

  info@automotohub.ru   8 (916) 294-84-77
  О Компании   Оплата и Доставка   Помощь   Обратная связь

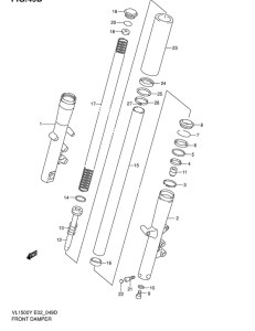
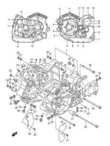
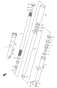
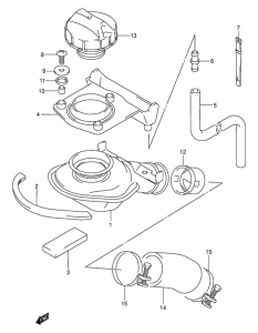
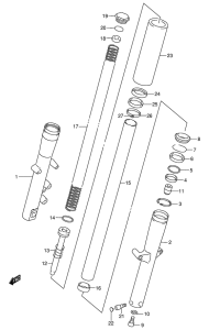
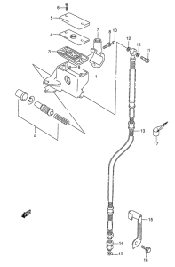
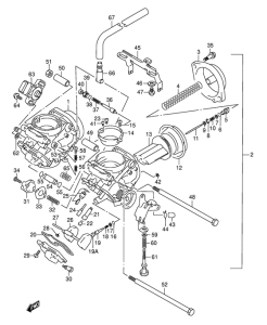
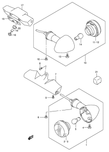
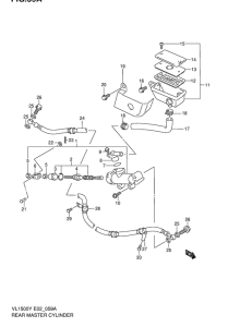
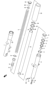
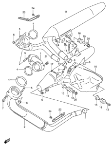
Запчасти для мотоциклов Suzuki VL1500 Intruder LC

Год: 2004  •  Код модели: VL1500K4(E2) K4  •  Объем двигателя: 1500
Запчасти для мотоциклов Suzuki VL1500 Intruder LC
Выбирайте узел вашей техники:


{modalWnd}