OEM ЗАПЧАСТИ

  info@automotohub.ru   8 (916) 294-84-77
  О Компании   Оплата и Доставка   Помощь   Обратная связь

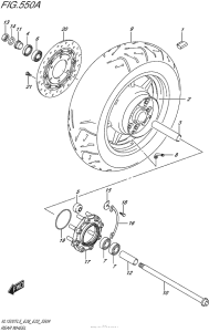
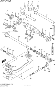
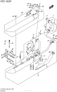
Запчасти для мотоциклов Suzuki VL1500T Boulevard C90T

Год: 2015  •  Код модели: VL1500TL5  •  Объем двигателя: 1500
Запчасти для мотоциклов Suzuki VL1500T Boulevard C90T
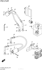
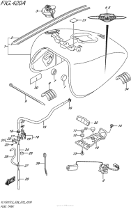
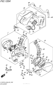
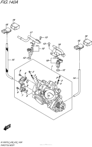
Выбирайте узел вашей техники:


{modalWnd}