OEM ЗАПЧАСТИ

  info@automotohub.ru   8 (916) 294-84-77
  О Компании   Оплата и Доставка   Помощь   Обратная связь

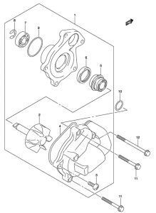
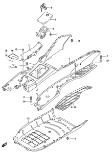
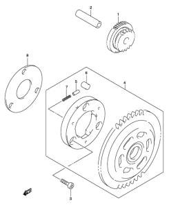
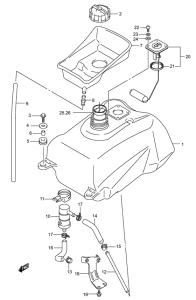
Запчасти для мотоциклов Suzuki UH150 Burgman

Год: 2004  •  Код модели: UH150K4(P19) K4  •  Объем двигателя: 150
Запчасти для мотоциклов Suzuki UH150 Burgman
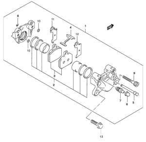
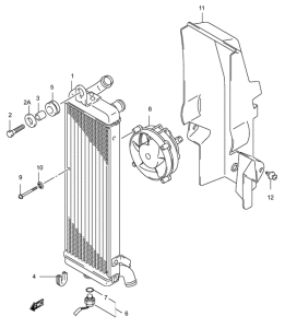
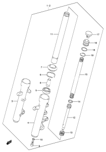
Выбирайте узел вашей техники:


{modalWnd}