OEM ЗАПЧАСТИ

  info@automotohub.ru   8 (916) 294-84-77
  О Компании   Оплата и Доставка   Помощь   Обратная связь

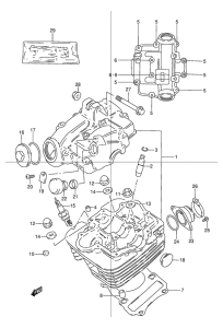
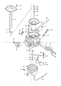
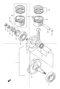
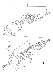
Запчасти для мотоциклов Suzuki TU125

Год: 1999  •  Код модели: TU125XTUX(E2) X  •  Объем двигателя: 125
Запчасти для мотоциклов Suzuki TU125
{modalWnd}