OEM ЗАПЧАСТИ

  info@automotohub.ru   8 (916) 294-84-77
  О Компании   Оплата и Доставка   Помощь   Обратная связь

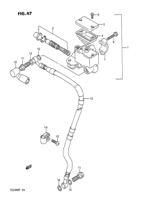
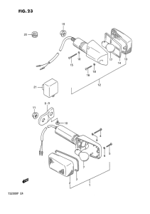
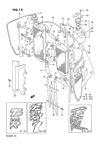
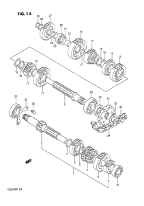
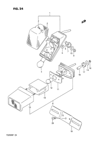
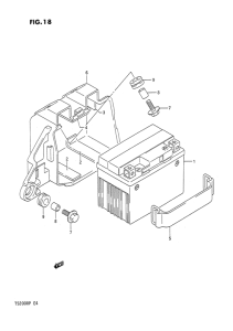
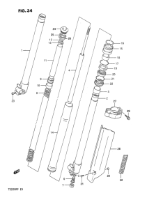
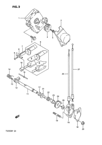
Запчасти для мотоциклов Suzuki TS200

Год: 1991  •  Код модели: TS200RM(E4) M  •  Объем двигателя: 200
Запчасти для мотоциклов Suzuki TS200
Выбирайте узел вашей техники:


{modalWnd}