OEM ЗАПЧАСТИ

  info@automotohub.ru   8 (916) 294-84-77
  О Компании   Оплата и Доставка   Помощь   Обратная связь

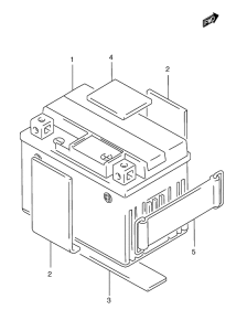
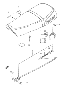
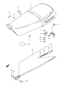
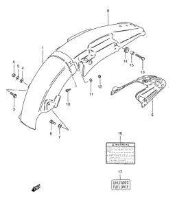
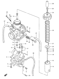
Запчасти для мотоциклов Suzuki TS185

Год: 2000  •  Код модели: TS185ERY(E1) Y  •  Объем двигателя: 185
Запчасти для мотоциклов Suzuki TS185
Выбирайте узел вашей техники:


{modalWnd}