OEM ЗАПЧАСТИ

  info@automotohub.ru   8 (916) 294-84-77
  О Компании   Оплата и Доставка   Помощь   Обратная связь

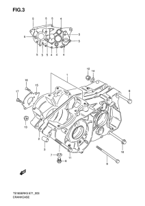
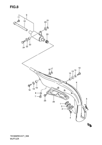
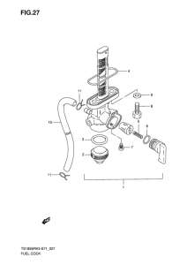
Запчасти для мотоциклов Suzuki TS185

Год: 2005  •  Код модели: TS185ERK5(E71) K5  •  Объем двигателя: 185
Запчасти для мотоциклов Suzuki TS185
{modalWnd}