OEM ЗАПЧАСТИ

  info@automotohub.ru   8 (916) 294-84-77
  О Компании   Оплата и Доставка   Помощь   Обратная связь

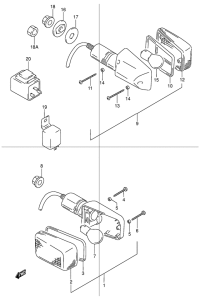
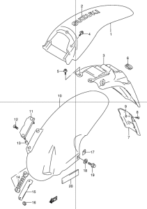
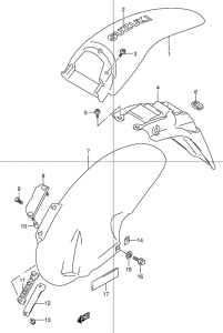
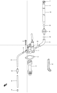
Запчасти для мотоциклов Suzuki TR50 Street Magic

Год: 1999  •  Код модели: TR50SX(E2) X  •  Объем двигателя: 50
Запчасти для мотоциклов Suzuki TR50 Street Magic
{modalWnd}