OEM ЗАПЧАСТИ

  info@automotohub.ru   8 (916) 294-84-77
  О Компании   Оплата и Доставка   Помощь   Обратная связь

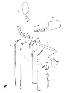
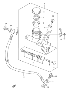
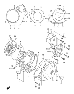
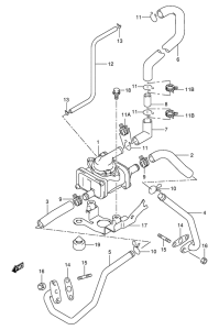
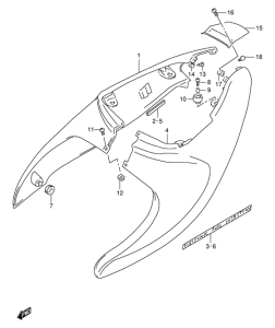
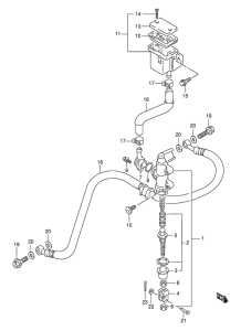
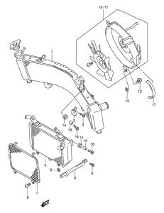
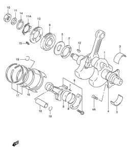
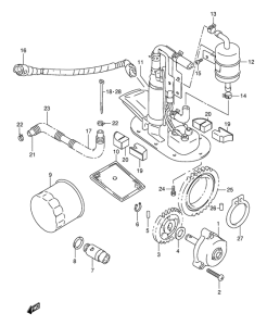
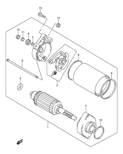
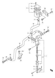
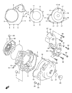
Запчасти для мотоциклов Suzuki TL1000

Год: 2000  •  Код модели: TL1000RY(E2) Y  •  Объем двигателя: 1000
Запчасти для мотоциклов Suzuki TL1000
Выбирайте узел вашей техники:


{modalWnd}