OEM ЗАПЧАСТИ

  info@automotohub.ru   8 (916) 294-84-77
  О Компании   Оплата и Доставка   Помощь   Обратная связь

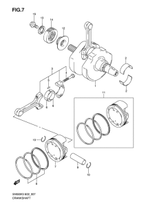
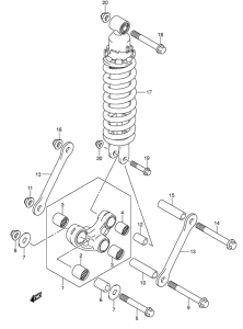
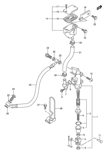
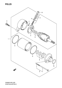
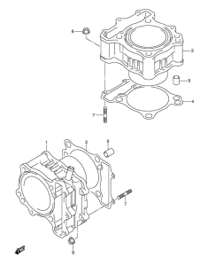
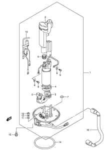
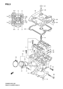
Запчасти для мотоциклов Suzuki SV650

Год: 2004  •  Код модели: SV650K4(E2) K4  •  Объем двигателя: 650
Запчасти для мотоциклов Suzuki SV650
Выбирайте узел вашей техники:


{modalWnd}