OEM ЗАПЧАСТИ

  info@automotohub.ru   8 (916) 294-84-77
  О Компании   Оплата и Доставка   Помощь   Обратная связь

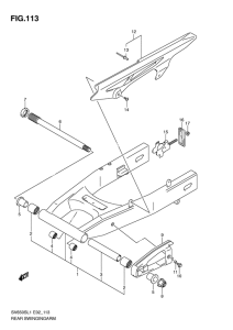
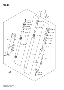
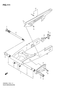
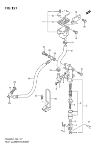
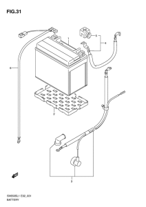
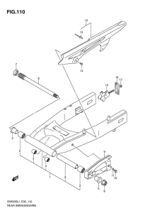
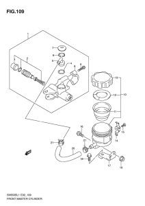
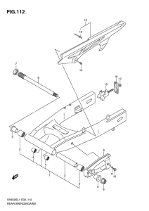
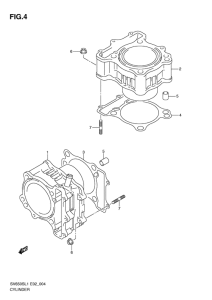
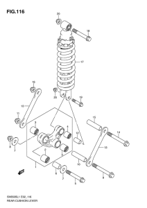
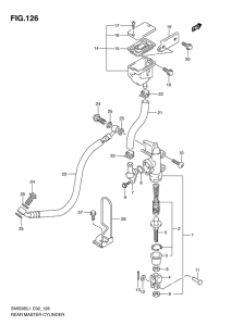
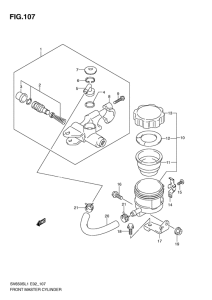
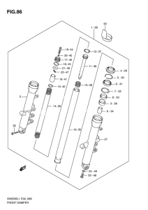
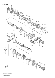
Запчасти для мотоциклов Suzuki SV650

Год: 2011  •  Код модели: SV650SL1(E2) L1  •  Объем двигателя: 650
Запчасти для мотоциклов Suzuki SV650
Выбирайте узел вашей техники:


{modalWnd}