OEM ЗАПЧАСТИ

  info@automotohub.ru   8 (916) 294-84-77
  О Компании   Оплата и Доставка   Помощь   Обратная связь

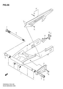
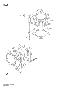
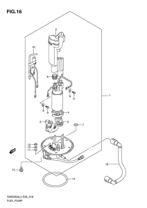
Запчасти для мотоциклов Suzuki SV650 (ABS)

Год: 2012  •  Код модели: SV650SAL2(E28) L2  •  Объем двигателя: 650
Запчасти для мотоциклов Suzuki SV650 (ABS)
Выбирайте узел вашей техники:


{modalWnd}