OEM ЗАПЧАСТИ

  info@automotohub.ru   8 (916) 294-84-77
  О Компании   Оплата и Доставка   Помощь   Обратная связь

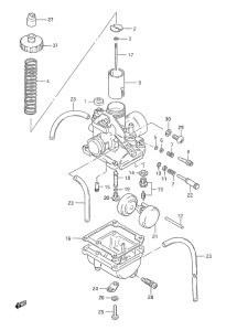
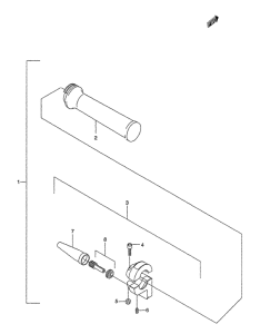
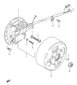
Запчасти для мотоциклов Suzuki SMX50

Год: 2001  •  Код модели: SMX50K1 K1  •  Объем двигателя: 50
Запчасти для мотоциклов Suzuki SMX50
{modalWnd}