OEM ЗАПЧАСТИ

  info@automotohub.ru   8 (916) 294-84-77
  О Компании   Оплата и Доставка   Помощь   Обратная связь

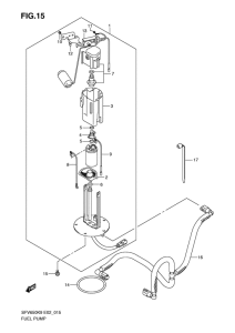
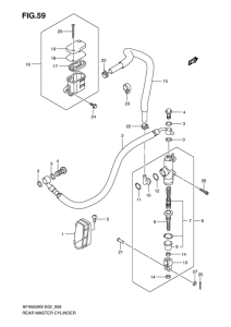
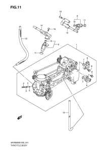
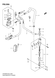
Запчасти для мотоциклов Suzuki SFV650 (ABS) Gladius

Год: 2010  •  Код модели: SFV650AL0(E2) L0  •  Объем двигателя: 650
Запчасти для мотоциклов Suzuki SFV650 (ABS) Gladius
Выбирайте узел вашей техники:


{modalWnd}