OEM ЗАПЧАСТИ

  info@automotohub.ru   8 (916) 294-84-77
  О Компании   Оплата и Доставка   Помощь   Обратная связь

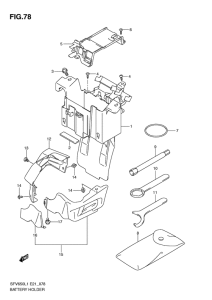
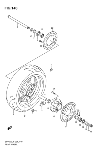
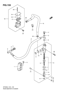
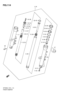
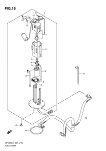
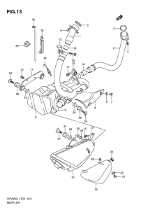
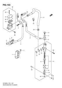
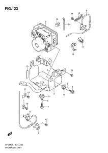
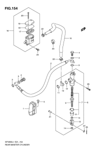
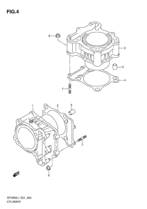
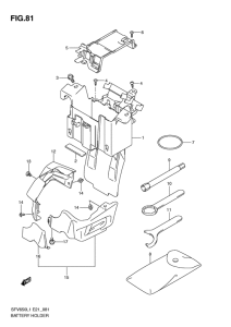
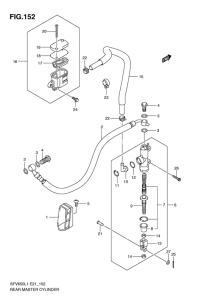
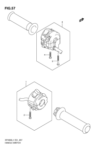
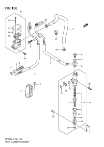
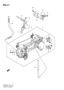
Запчасти для мотоциклов Suzuki SFV650 Gladius

Год: 2011  •  Код модели: SFV650L1(E21) L1  •  Объем двигателя: 650
Запчасти для мотоциклов Suzuki SFV650 Gladius
Выбирайте узел вашей техники:


{modalWnd}