OEM ЗАПЧАСТИ

  info@automotohub.ru   8 (916) 294-84-77
  О Компании   Оплата и Доставка   Помощь   Обратная связь

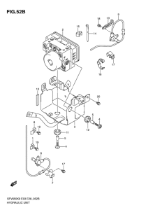
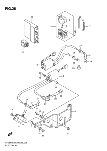
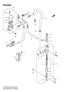
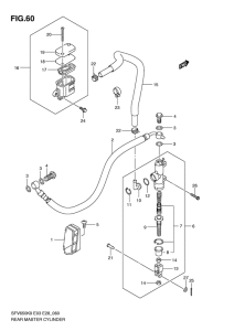
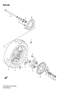
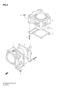
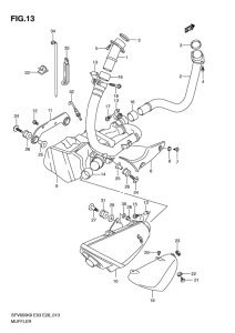
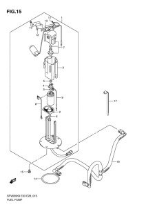
Запчасти для мотоциклов Suzuki SFV650 Gladius

Год: 2009  •  Код модели: SFV650K9(E3/E28) K9  •  Объем двигателя: 650
Запчасти для мотоциклов Suzuki SFV650 Gladius
Выбирайте узел вашей техники:


{modalWnd}