OEM ЗАПЧАСТИ

  info@automotohub.ru   8 (916) 294-84-77
  О Компании   Оплата и Доставка   Помощь   Обратная связь

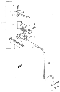
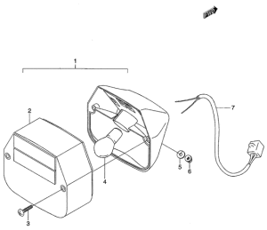
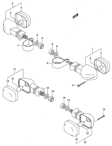
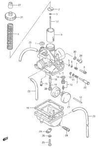
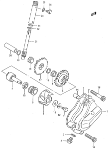
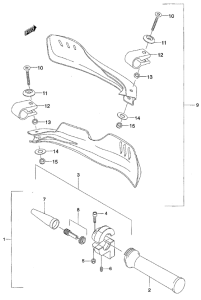
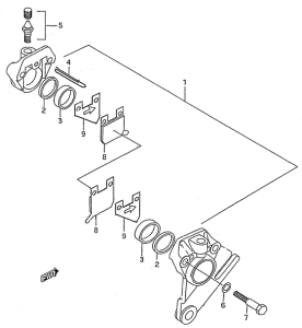
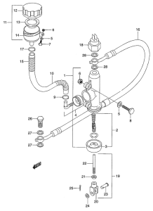
Запчасти для мотоциклов Suzuki RMX50

Год: 1998  •  Код модели: RMX50W W  •  Объем двигателя: 50
Запчасти для мотоциклов Suzuki RMX50
{modalWnd}