OEM ЗАПЧАСТИ

  info@automotohub.ru   8 (916) 294-84-77
  О Компании   Оплата и Доставка   Помощь   Обратная связь

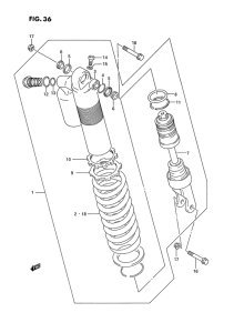
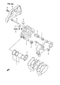
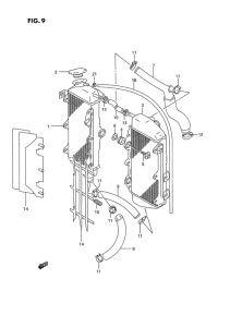
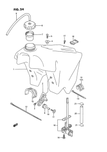
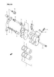
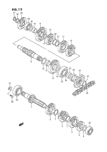
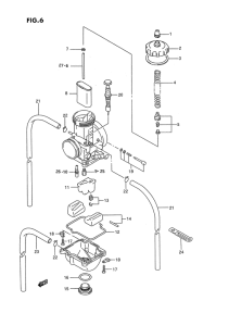
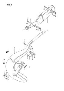
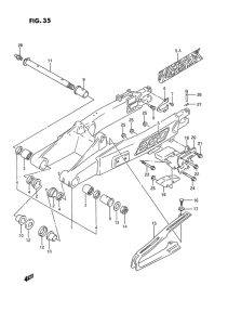
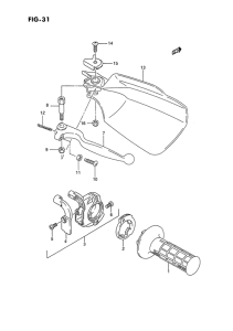
Запчасти для мотоциклов Suzuki RMX250

Год: 1994  •  Код модели: RMX250RR(E1) R  •  Объем двигателя: 250
Запчасти для мотоциклов Suzuki RMX250
{modalWnd}