OEM ЗАПЧАСТИ

  info@automotohub.ru   8 (916) 294-84-77
  О Компании   Оплата и Доставка   Помощь   Обратная связь

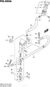
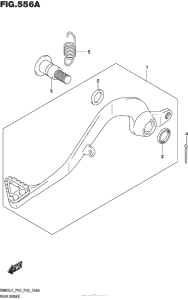
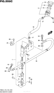
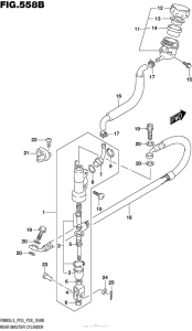
Запчасти для мотоциклов Suzuki RM85L

Год: 2015  •  Код модели: RM85LL5  •  Объем двигателя: 85
Запчасти для мотоциклов Suzuki RM85L
Выбирайте узел вашей техники:


{modalWnd}