OEM ЗАПЧАСТИ

  info@automotohub.ru   8 (916) 294-84-77
  О Компании   Оплата и Доставка   Помощь   Обратная связь

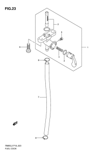
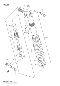
Запчасти для мотоциклов Suzuki RM85

Год: 2012  •  Код модели: RM85L2(P19) L2  •  Объем двигателя: 85
Запчасти для мотоциклов Suzuki RM85
{modalWnd}