OEM ЗАПЧАСТИ

  info@automotohub.ru   8 (916) 294-84-77
  О Компании   Оплата и Доставка   Помощь   Обратная связь

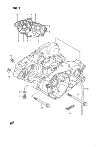
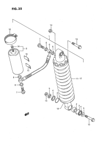
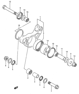
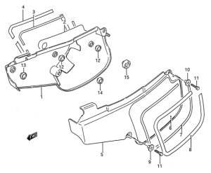
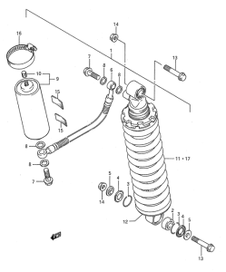
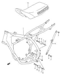
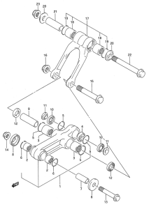
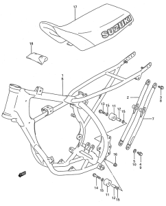
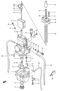
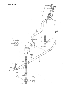
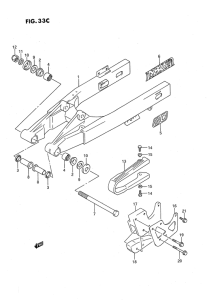
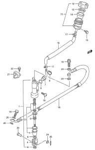
Запчасти для мотоциклов Suzuki RM80

Год: 1993  •  Код модели: RM80XP(E2) P  •  Объем двигателя: 80
Запчасти для мотоциклов Suzuki RM80
Выбирайте узел вашей техники:


{modalWnd}