OEM ЗАПЧАСТИ

  info@automotohub.ru   8 (916) 294-84-77
  О Компании   Оплата и Доставка   Помощь   Обратная связь

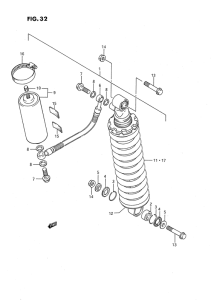
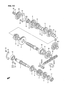
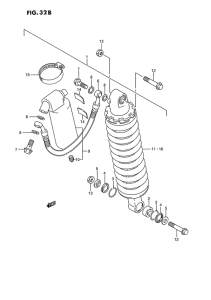
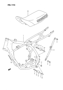
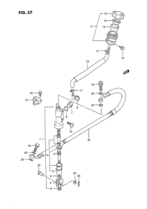
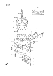
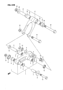
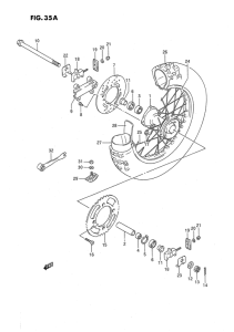
Запчасти для мотоциклов Suzuki RM80

Год: 1994  •  Код модели: RM80R(E24) R  •  Объем двигателя: 80
Запчасти для мотоциклов Suzuki RM80
Выбирайте узел вашей техники:


{modalWnd}