OEM ЗАПЧАСТИ

  info@automotohub.ru   8 (916) 294-84-77
  О Компании   Оплата и Доставка   Помощь   Обратная связь

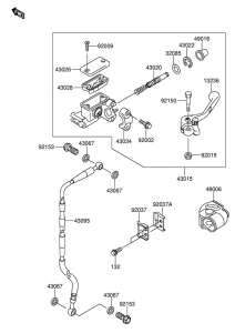
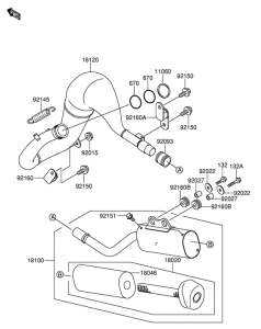
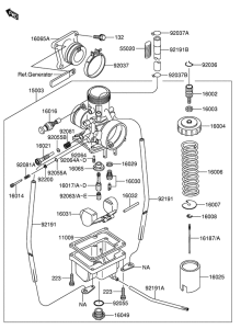
Запчасти для мотоциклов Suzuki RM65

Год: 2003  •  Код модели: RM65K3(E3) K3  •  Объем двигателя: 65
Запчасти для мотоциклов Suzuki RM65
Выбирайте узел вашей техники:


{modalWnd}