OEM ЗАПЧАСТИ

  info@automotohub.ru   8 (916) 294-84-77
  О Компании   Оплата и Доставка   Помощь   Обратная связь

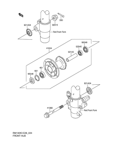
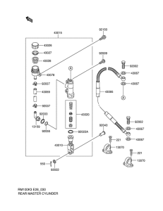
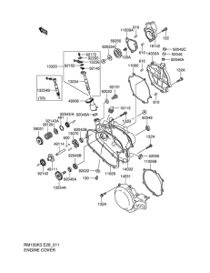
Запчасти для мотоциклов Suzuki RM100

Год: 2004  •  Код модели: RM100K4(E28) K4  •  Объем двигателя: 100
Запчасти для мотоциклов Suzuki RM100
{modalWnd}