OEM ЗАПЧАСТИ

  info@automotohub.ru   8 (916) 294-84-77
  О Компании   Оплата и Доставка   Помощь   Обратная связь

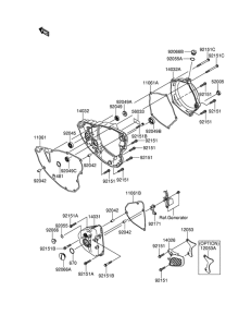
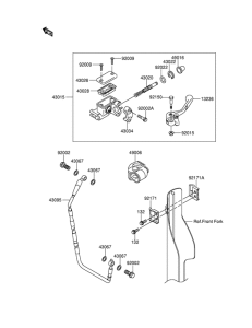
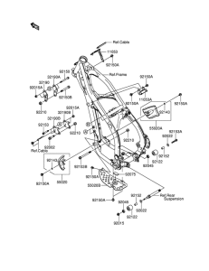
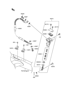
Запчасти для мотоциклов Suzuki RM-Z250

Год: 2004  •  Код модели: RM-Z250K4(E28) K4  •  Объем двигателя: 250
Запчасти для мотоциклов Suzuki RM-Z250
{modalWnd}