OEM ЗАПЧАСТИ

  info@automotohub.ru   8 (916) 294-84-77
  О Компании   Оплата и Доставка   Помощь   Обратная связь

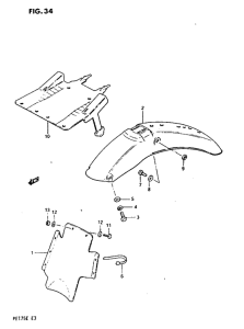
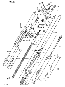
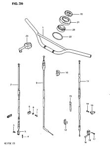
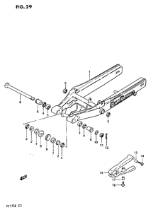
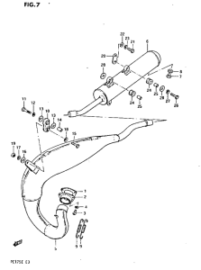
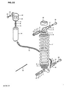
Запчасти для мотоциклов Suzuki PE175

Год: 1984  •  Код модели: PE175E E  •  Объем двигателя: 175
Запчасти для мотоциклов Suzuki PE175
{modalWnd}