OEM ЗАПЧАСТИ

  info@automotohub.ru   8 (916) 294-84-77
  О Компании   Оплата и Доставка   Помощь   Обратная связь

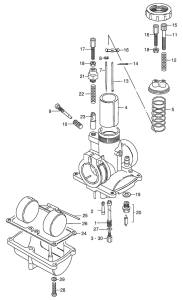
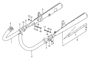
Запчасти для мотоциклов Suzuki K125

Год: 1990  •  Код модели: K125L(E7) L  •  Объем двигателя: 125
Запчасти для мотоциклов Suzuki K125
{modalWnd}