OEM ЗАПЧАСТИ

  info@automotohub.ru   8 (916) 294-84-77
  О Компании   Оплата и Доставка   Помощь   Обратная связь

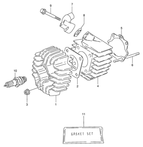
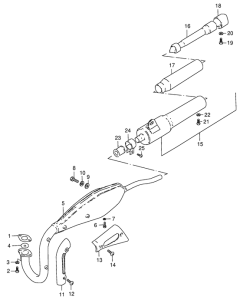
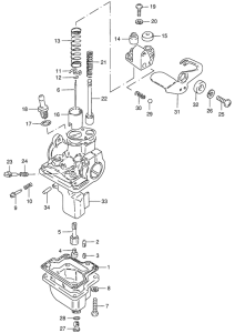
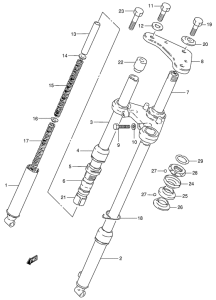
Запчасти для мотоциклов Suzuki JR50

Год: 1997  •  Код модели: JR50V(P3/P28) V  •  Объем двигателя: 50
Запчасти для мотоциклов Suzuki JR50
{modalWnd}